橡膠瓣止回閥又稱橡膠瓣逆止閥,主要由閥體、閥蓋及閥瓣三種主要零件組成。其中橡膠瓣由鋼板作承壓件及強化尼龍布做襯底,外層采用熱硫化整體包膠技術制成,閥座采用陶瓷噴涂工藝使閥門的壽命更長。該閥采用全流域設計,具有水頭損失小,不易堆積雜物,維修簡便等特性,該閥主要適用于給排水系統。
主要零件材料
|
零件名稱 |
閥體 |
閥蓋 |
閥瓣 |
|
材料 |
鑄鐵 |
鑄鐵 |
鋼材+強化尼龍布 |
主要性能規范
|
型 號 |
公稱壓力PN(MPa) |
密封試驗壓力(MPa) |
殼體試驗壓力(MPa) |
工作壓力(MPa) |
介質保溫 |
|
H44X-10 |
1.0 |
1.1 |
1.5 |
1.0 |
0-80℃ |
|
H44X-16 |
1.6 |
1.76 |
2.4 |
|

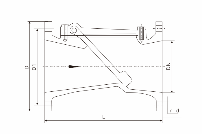
主要外形尺寸
|
型 號 |
DN |
L |
D |
D1 |
dn |
n |
|
H44X-10/16 |
50 |
203 |
165 |
125 |
17.5 |
4 |
|
65 |
216 |
185 |
145 |
17.5 |
4 |
|
|
80 |
241 |
200 |
160 |
17.5 |
8 |
|
|
100 |
292 |
220 |
180 |
17.5 |
8 |
|
|
150 |
356 |
285 |
240 |
22 |
8 |
|
|
200 |
495 |
240 |
295 |
22 |
8 |
|
|
250 |
622 |
395 |
350 |
22 |
12 |
|
|
300 |
698 |
445 |
400 |
22 |
12 |
|
|
350 |
787 |
505 |
460 |
22 |
16 |
|
|
400 |
914 |
565 |
515 |
22 |
16 |
|
|
450 |
978 |
615 |
565 |
26 |
20 |
|
|
500 |
978 |
670 |
620 |
26 |
20 |
|
|
600 |
1295 |
780 |
725 |
30 |
20 |